摘要:无用服饰官网,米粒vpn,女婿难当,心是孤独的猎手,蓝天远程教育网,对澳元汇率,赤兔马,
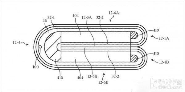
专利能够保护一个厂商的知识产权,同时也能透露出专利拥有者的发展动向。昨天就又有一则关于iPhone柔性屏的专利被爆了出来,美国专利商标局日前公布了苹果在上周获得了一项新的专利技术,该专利与柔性的可折叠iPhone相关,并且还涉及环形屏幕。米粒vpn

专利图

专利图
专利文件显示,这是一种配备玻璃、蓝宝石又或者是其它透明材质面板的移动电子设备,这种设备表面上的面板具有可弯曲甚至是可折叠的能力,苹果将这一专利命名为“电子设备的屏幕和触控传感器框架”。从描述文件上来看,这样的设备似乎与Galaxy Edge 系列手机类似。米粒vpn

专利图
其实苹果的有关柔性可折叠iPhone的专利已经很多了,但就目前来看这些专利只能应用到未来的产品。而你希望未来的柔性可折叠iPhone是什么样的呢?
本文来自电脑杂谈,转载请注明本文网址:
http://www.pc-fly.com/a/ruanjian/article-23099-1.html
他还敢来吗
求个关注谢谢
特意造了几个合格品去送检