大家好,我是小江。对于喜欢自己的DIY控制台的朋友来说,CPU散热器肯定并不陌生。为了将处理器长时间保持在较低的温度下,可以说散热器至关重要。今天我们将讨论CPU风冷散热器包含多少知识?
实际上,有很多因素会影响风冷散热器的性能,例如材料的导热系数,散热片面积,散热片间距,底部厚度,接触面积,流体流动方向等。只会谈论一些相对容易理解的内容,以便每个人都有一个大致的了解。
首先,散热器的分类:热管和无热管,塔式和降压式
如果首先对空气冷却进行分类,则将其根据热管分为热管散热器和热管散热器。前者是各种第三方散热的主流接口,而后者在处理器中更为常见。原始散热器和一些低端第三方散热器。从散热效果的角度来看,前者基本上是挂在后者上的,所以英特尔基本上与原始的散热不匹配,AMD这里只有可使用的幻像棱镜水平(如果可以容忍噪音)如果)。

然后我们主要讨论主流的热管散热器。普通的热管散热器大致分为塔式结构,另一个称为向下压力结构。

首先,让我们看一下向下压力的散热。它是一个位于CPU上的结构,风扇从上到下吹空气。这种结构的优点通常是:1.的高度相对较短,可以放置在诸如ITX的小盒子中。2.它可以帮助主板周围的电子组件消散热量。

这种设计也有很大的缺点。首先,它不利于底盘内部的风道,容易引起湍流。其次,风扇下方有一个百叶窗区域,不利于散热。第三,部分气流回弹并影响风向,因此,低压散热效率一般较低。
塔架结构的主要优点是可以解决风盲区的问题。气流平行通过散热片。气流部分四个侧面的气流速度最快,CPU加热垫位于一侧。另一个优点是,没有回弹风压,并且散热效果优于下压式。同时,塔架的散热也有利于机箱内部的风道的构造,可以引导风尽快从机箱后部的散热口排出。


当然,仍然存在一些缺点,例如无法将热量散发到周围的组件上,无法直接吹热源,并且对机箱有一定的要求。
那就有了热管的知识
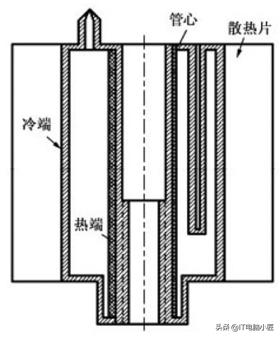
热管的工作原理非常简单。它分为蒸发加热段和冷凝段。当加热部分开始加热时,管壁中的液体将蒸发,然后蒸汽流将在压力下流向冷凝部分。当蒸汽流到达冷凝段时,它变成液体,同时释放大量的热量,最后通过重力返回加热段以完成一个循环。

由于热管具有极快的传热速度的优势,因此安装的优质散热器可以有效地降低热阻值并提高散热效率,因此被称为“热超导体”。具有出色工艺设计的热管散热器具有热管散热器无法实属材料中,银具有最高的导热率,其次是铜和铝。然而,由于前两个的成本和加工成本,铝合金通常被用作主流的风冷散热器材料。当使用铜基+铝底翅片结构时,散热性能几乎与纯铜底+铜翅片相同,但是重量增加了一倍。因此,目前大多数中高端散热器使用铜底+铝翅片的组合来在成本和散热之间取得平衡。

另一种方法是使热管直接接触热源。从理论上讲,这种设计可以减小基座与热管之间的热阻,大大提高热管的利用率。但是,CPU的表面并不是真正意义上的平面。有一些用肉眼无法识别的不均匀性。压下散热器后,将引起二次变形。因此,要使散热器的底部与CPU的表面匹配并不容易。东西。

目前,散热器领域的普遍共识是,热管直接接触可以生产出具有成本效益的散热器,但不可能制造出一流的产品。因此,大多数高端散热器仍以铜底为基础,而不是采用热管直接接触技术。
鳍的面积,厚度和间距的艺术
当底座和热管具有相同的结构时,无疑是增加散热器的散热效率并增加散热面积的最快方法,而增加散热器的方法有两种:一种是增加散热器的散热量。卷。要增加散热器的数量,另一种方法是通过减小散热器之间的距离来增加数量。
这两种方法都有某些缺点。第一种方法很容易导致散热器的体积无法控制,第二种方法将减小风管的尺寸,增加风阻,并增加散热片之间的灰尘并积聚。因此,如果要提高散热器的性能,建议不要盲目增加体积。散热器的体积和重量,散热片的厚度和间距都测试了制造商的研发实力。


当然,除了散热器本身的规划之外,与热管的连接也特别重要。目前,有两种主要的热管和散热器组装方法,即焊接和散热片穿透。焊接过程界面的热阻值低,但是成本高。一旦焊接不均匀或产生内部空气,传热效率就会降低。
散热片应通过机械方式使热管直接穿过散热片。这个过程很简单,但不低于焊接。一旦散热片无法通过,散热效率不仅会大大降低,甚至会直接掉落。同时,为了确保鳍片阵列不变形,鳍片经常与扣鳍鳍技术一起使用,即鳍片的边缘弯曲,相邻鳍片以的形式结合在一起。以确保鳍间距不变。

应注意,优良的Fin工艺与焊接工艺之间没有明显的性能差距。关键是要看制造商的工艺水平,但是焊接具有耐用性和稳定性方面的优势,因此目前的高端散热器基本上都是焊接工艺,大多数主流的高性价比产品都采用Fin工艺。
通常,优秀的散热器在上述单个方面表现不佳,但是在各个方面都达到了更好的平衡,尤其是风冷散热器的轻量化。个性化已成为主流,保持所有物品的平衡可以彰显制造商的实力。
本文来自电脑杂谈,转载请注明本文网址:
http://www.pc-fly.com/a/shoujiruanjian/article-342347-1.html
教授