

日常生活中经常遇到清洁工人在路上. 今天,我将介绍一种可以独自扫荡道路并在道路上洒水和灰尘的汽车模型. 它有多个名称: 东风多利卡扫路车,东风Dolica洗车扫地车和东风Dorica吸尘器车在这三种型号上基本相同,只是车辆的名称不同.

上图是东风多利卡冲掉空气制动器,有哪些好的技巧?以下请参见售后技术人员的共享: 1.定期保养水箱. 发动机水箱生锈和结垢是最常见的问题. 铁锈和水垢会限制冷却液在冷却系统中的流动,降低散热效果,导致发动机过热,甚至损坏扫路机的发动机. 真实的汽车扫地机图片,轴距: 3800mm扫地车结构,朝潮柴170马力,顶部配置: 净水箱容积: 5m³,垃圾箱容积: 5m³清扫宽度: 3.2m,1. 带2个中央扫地机,康明斯140马力辅助发动机,三洋电机,双药高压水泵(前喷/侧喷/中喷/后喷/冲洗水/垃圾桶自洁装置);通用高压路边清洁喷嘴,不锈钢水箱,垃圾桶;不锈钢高压管道,法国控制器,美国传感器;尾部LED箭头灯;垃圾桶和水箱均装有防溢或低水位报警装置;室内清洁状况; 18M高压清洗卷盘.

清扫车是新一代的道路清扫车. 该车辆可单独用作道路清扫车,以进行路面清洁和吸尘操作;它也可以用作路面冲洗操作的高压冲洗车;它也可以与路面清洁抽吸剂和高压冲洗水结合使用,作为清扫车,以实现清洁,洗涤. 泵和洗涤的各种组合可供选择,以满足不同用户的各种需求. 该车辆可广泛用于城市主要道路和高架桥的清洗和清洁操作.



东风5吨卡车清洁的特点
1,多立克卡车使用东风Dorica 5吨特殊清洗底盘,多利卡的新型豪华驾驶室,配备方向辅助,离合器辅助,ABS,丰富的配置,实用性强!翻身有助于大修和维护发动机.
2. Dolica的底盘发动机经过清洗,并采用超柴156马力的柴油发动机,其排放达到了国家六项标准. 东风超柴发动机是具有多年生产,研发经验和产品技术的国内知名发动机制造商. 成熟且有保证的质量.

3. 在变速箱方面,东风多利卡配备了由东风自主开发的6速手动变速箱,档位清晰,换档简便.
4. 在底盘方面,这款Doric卡车扫地机使用2.5吨前桥和7吨加固后桥. 该轮胎配备了8.25R20钢胎,承载能力更强!
5. 在箱子的材料上,这款多立克卡车由不锈钢制成,箱子内部经过简单的防腐和防锈处理,大大延长了箱子的使用寿命.
6. 经过不断的优化和升级,此Doric卡具有5立方米的净水箱和5立方米的垃圾桶,可以连续工作4个小时以上.
7. Dolica洗车扫地机的核心部件均为优质产品,不仅在性能和质量上均优于其他国产产品,而且使用寿命更长.
8. 多力克卡车配备了两组高低压水路系统,可以实现高压清洗和低压洒水的功能.
9. Dolica采用驾驶室的智能控制模式对汽车进行清洗和清扫,环卫工人可以完成驾驶室中车辆的所有操作,并在右扫描板和后部配备了高清,可以控制车辆的工作状态,即时调整.
10. Dorica汽车的左后方装有20米高压清洗卷盘,可用于清洗车身,也可用于清洗植物和幕墙.
11. Dorica洗车器的集尘盒具有自动清洁功能. 垃圾倾倒完成后,可以将箱中残留的垃圾冲走,以减轻环卫工人的负担.
12,多立克卡车清洁扫地车还可以根据用户的不同需求配备其他功能,例如除雪和高压喷雾.
道路清扫车: 新一代环保型,结合清扫和吸尘道路清扫车,主要用于城市街道,市政广场,大型工厂和矿山的机械化清扫作业,整车效率高,技术性能先进可靠,主要部件全部为纯零件制成,外形美观,实用性强.




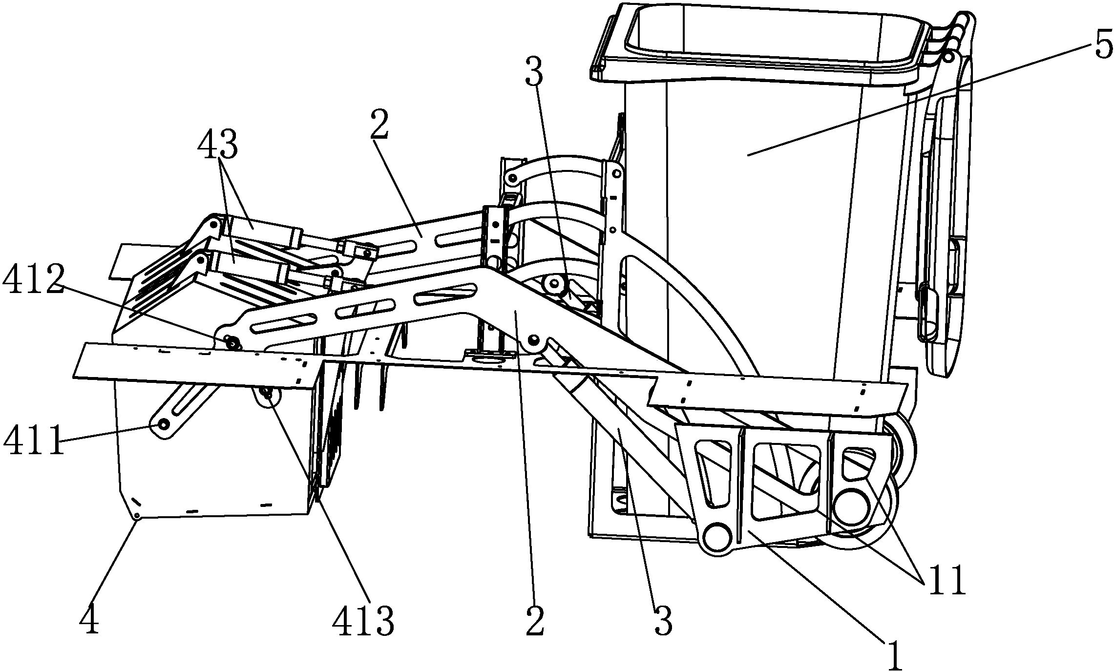
清洗车的工作原理: 清洗车的中央采用两块刷板,中央采用宽吸盘,并采用具有防撞和避障功能的V形高压冲洗框架,以形成清洁和清洁的目的. 大于3.5米的清洁带. 使用康明斯辅助发动机作为动力的驱动装置放置在车架的中间,在动力仓的左侧布置有由气动离合器装置控制的吸气风扇. 不锈钢制成的水箱和垃圾桶均采用方肋结构. 水箱分为两部分,一部分是前独立水箱,它安装在电源箱的前部. 另一部分是设置在集尘箱前面的水箱,可以与集尘箱和电源箱盖同时升降. 具有提升功能的垃圾箱配有高压冲洗喷嘴,使排放更加轻松,清洁和彻底. 可以与垃圾箱一起提起的电源罩使电源系统的维护极为方便. 欧美著名支撑部件的使用使车辆的性能更加出色,工作更加可靠.




参数配置
底盘配置: 使用东风天龙原装底盘,6×4驱动器,D310平头标准驾驶室,东风康明斯ISD245 50 / ISD270 50电控高压共轨发动机245 hp / 270 hp发动机(WHTC),轴距4350 + 1350(mm),前部宽度940mm,后部宽度860mm,电阻加热冷启动装置,全钢350L主燃油箱,带燃油箱锁(四个锁合为一体),电子油门踏板和开关,消音器侧排气口被炸开侧向,Φ430mm推力式膜片弹簧离合器,陕齿9挡9JS119T-B变速箱,一挡速比为9.204,高档为超速齿轮,7T前桥,10T单级减速双后桥(东风435 ),主减速比4.44,无轮间差速锁,框架纵梁横截面尺寸300×90×(8 + 6)mm,板簧数9/10,11.00R20子午线轮胎,轮胎高度16PR,手动调节手臂,东风科技ABS(4通道),满l浮动式前悬架和后悬架机械减震驾驶室悬架,液压电动翻转扫地车结构,无色夹层前挡风玻璃,电动玻璃升降器,中央控制前门锁,安全气囊减少装置减震驾驶员座椅,通道仪表板,空调和巡航系统. 保留的接口-用于行车记录仪和北斗终端的第12版.
上装配置: 中心设置2个扫油盘,吸油嘴,三洋电机,德国高压水泵(前冲,侧喷,中间喷,后喷,侧冲汽车水,垃圾桶自动清洁装置) ),通用高压道路清洗,低压泵前冲,不锈钢水箱,垃圾桶;不锈钢高压管道,施耐德控制开关,美式传感器,尾部LED箭头灯,机油,垃圾桶,水箱均具有防溢或低水位报警装置;倒车和驾驶室中显示器的清洁状态,高压清洗卷盘为18m,最大清洗宽度为3.5m;高压清洗高度≥21m.
真空吸尘车: 新一代强大的真空吸尘专用车,用于道路吸尘,主要适用于城市街道,市政广场,大型工厂和矿山的机械化清洁. 整车运行效率高,技术性能先进可靠,主要部件全部采用纯正部件,外形美观,实用性强.




参数配置
底盘配置: 使用东风D7大理底盘,单排白色前转向驾驶室,可选的柴油156马力,玉柴130马力的国V柴油机,万里扬6速变速箱,轴距3800mm,7.50钢丝轮胎,空气制动器,方向辅助,带原装ABS和空调.
上装配置: 中央安装的吸盘,JMC五十铃辅助发动机,施耐德控制开关,海普瑞斯电磁阀组,无级自动离合器,免维护离心风扇,不锈钢垃圾箱,高精度垃圾箱过滤系统(最大0.3微米),脉冲阀,尾部LED箭头灯,手动泵应急系统,后部有雾状喷水润湿功能. 可选的前铲和扫雪机是可选的.



东风天津洗车是我公司开发的最新款高端洗车. 采用天津东风DFH1180EX8型机箱,符合国家Ⅵ排放标准. 垃圾箱的容积为9立方米,水箱的容积为7立方米,是一种具有较高自动化程度的道路清洁车辆,是环卫操作的主要模型. 引入该车辆将大大减轻环卫工人的工作强度,提高道路清洁效率.
东风天津洗衣机和扫地机具有多种功能,例如路面清洁,路面清扫路缘石和路缘石外墙擦洗,低压清洗和除尘. 有“完全擦洗”,“向左擦洗”,“向右擦洗”,“完全扫描”,可以选择各种作业模式. 选择“完全清洁”模式以清洁正方形和人行道. 清洗效率高,效果好. 清洁率超过95%. 选择“左擦洗”或“右擦洗”模式以清洁路面并遏制. 当需要道路清洁或道路清洁时,可以选择道路清扫模式. 当需要除尘时,可以打开喷雾装置进行除尘操作. 低压冲洗操作可以像洒水器一样在路面上进行.
全国第六届东风天津洗车图片描述模型
六国东风天津洗车图片详细讲解车型


六国东风天津洗车即将投放市场,图片转发

六国东风天津洗车场(吸盘,扫地车)

六国东风天津洗车及扫车(箭头灯,观察窗,排污口,后喷)

六国东风天津洗车机(辅助发动机和风扇,净水箱,污水箱)
洗车结合了扫路车,洒水车和高压清洗车的功能,可以实现各种道路清洗,道路清洗,路缘清洁,路缘石路缘刷洗,低压清洗,喷雾除尘,等. 工作职能. 适用于城市道路,公路,广场,机场,码头,隧道,桥梁,隔离墙,路缘石和路缘石外墙的机械化清洁,扫地,喷涂和除尘.
除上述功能外,洗车和扫车还可以根据用户的实际汽车需求配备铲雪机,前置式电动洒水装置,高压喷雾除尘等功能. ,可以真正实现一辆汽车的多种用途!


所有操作均在驾驶室中完成. 8,中国重汽的8吨卡车采用了中国重汽斯太尔系列环卫卡车的专用底盘,做工扎实,承载能力强. 动力总成采用SINOTRUK的180马力柴油发动机,真正的国家V排放标准,并且变速器配备了6速手动变速箱,既快速又强大. 配备: 江西五十铃辅助发动机(JX493G,57KW),伊顿(美国)摆线马达,不锈钢水箱,电磁阀组,控制开关(法国施耐德),北京风机,液压油管(广州天河),洒水电子水泵(上海嘉兴水泵)液压缸(上海润岛).
免责声明: 显示的信息由成员自己提供. 内容的真实性,准确性和合法性是发布成员的责任. Mechatronics.com对此不承担任何责任. 机电一体化不涉及用户之间交易引起的法律关系和法律纠纷. 争议通过您自己的谈判解决.
友善提醒: 该网站仅用作用户查找交易对象,协商商品和服务交易以及获取各种与贸易有关的服务信息的平台. 为了避免购买风险,建议您在购买相关产品之前确认供应商的资格和产品质量. 太低的价格,夸张的描述,私人银行帐户等都可能是虚假信息,请购买者小心谨慎,当心欺诈,您应谨慎选择任何付款方式!如果您遇到欺诈和其他不诚实行为,请立即与机电一体化联系. 如果验证正确,则机电一体化将取消企业的商店,但机电一体化对您造成的损失不承担任何责任. !
您也可以转到“消费者反欺诈指南”了解投诉和处理过程,我们将竭诚为您服务,感谢您对机电家庭网络的关注和支持!
本文来自电脑杂谈,转载请注明本文网址:
http://www.pc-fly.com/a/dianqi/article-197307-1.html
和男朋友走在街上
主要是中国的国籍不开放