
电动扫地车清扫效率是人工清扫的好几倍,可以边吸边扫,清扫清扫过的地面也没有垃圾残留,非常干净。程力公司经常接到庆铃大型庆铃扫多利卡洒水扫路车自动扫路机地车电话,客户首先问庆铃大型庆铃扫地车多少钱一辆,我们一般是计算庆铃大型庆铃扫地车选用的底盘价格加上装部分改装价格,如果客户需要送车另加上送车费用,由于底盘的价格不定期涨幅,再加上庆铃大型庆铃扫地车选用的底盘不一样,价格会有很大的差别,常见的庆铃大型庆铃扫地车底盘有东风小霸王、东风多利卡、东风145、东风天锦、东风153、五十铃庆铃、江铃、江淮、福田、长安等等,底盘不一样,吨位不一样,上装部分的价格也有所差别。 3、清洁效果,程力专用汽车股份生产扫路车、扫地车、道路清扫车、清扫车厂家、洗扫车、吸尘车、东风扫路车、散装饲料运输车、粉粒物料运输车、化工液体运输车、垃圾车、随车吊、清障车、混凝土搅拌运输车、各种环卫园林生产厂家.公司产品已率先全面通过iso9001-2000国际质量体系认证,产品全部通过3C国际强制认证,并通过出口产品的各项认证。

扫路车湖北程力,拥有的扫路车生产技术,独立的扫路车生产车间,并且属于大型扫路车生产直销厂家。程力公司的服务宗旨是:以质量求生存、信誉是保证。诚信待人,灵活经营、高质低价,讲究效率。
成哲公司承诺:凡属本公司生产销售的产品,底盘部分,全国服务站均可联保,专用部分三包服务一年,售后服务四十八小时到位处理,终身负责维修并提供终身免费技术服务。程力专用汽车股份销售八分公司承诺:凡属本公司生产销售的产品,底盘部分,全国服务站均可联保,专用部分三包服务一年,售后服务四十八小时到位处理,终身负责维修并提供终身免费技术服务。楚胜公司18908667518 连经理承诺 :凡属本公司生产销售的产品,底盘部分,服务站均可联保,专用部分三包服务一年,售后服务四十八小时到位处理,终身负责并提供终身免费技术服务。
伴随着全 国 各地不断发展,城市的建设越来越多,在各建筑工地,人们经常会看见湖北程力汽车的清洗吸污车四处奔走清澈的大水均匀地喷洒,所到之处,飞扬的尘土瞬间尘埃落定,施工方介绍:湖北程力汽车的清洗吸污车十分好用,清洗吸污车价格合理,大多数工地都使用湖北程力汽车所生产的清洗吸污车降尘、压尘。近年来,湖北程力环卫在香 港 市场获 得 较大突破,已陆续出口多批次扫路车、压缩垃 圾 车上装装备,在当地总成安装后投入使用,福湖北程力产品因性价比优势获 得 好评。程力专用汽车股份,是一家专门生产各种各样的特殊功能的专用车厂家,现生产各种 用车品种达到300多种,公司“程力威”商标荣获湖北,中国,在同行业相比是 生产资质最全,产品品种最多的专汽公司,在全国专汽领域拥有五个。




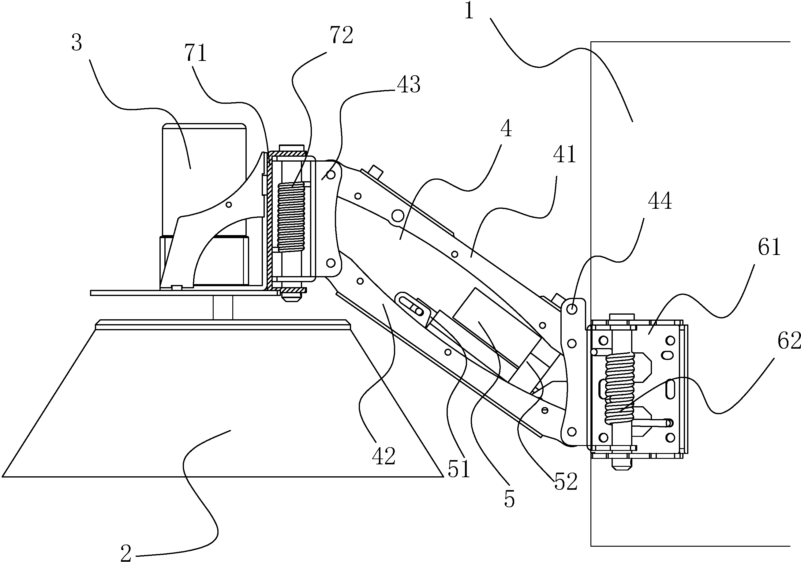
液压阀采用电磁阀;工业园区用的扫路车液压管路采用德国标准技术密封结构形式,抗震动性好,密封可靠性高,可实现无泄露的密封效果;关键电控元件采用法国施耐德技术。清扫系统由副发动机提供动力,不干涉整车动力。操纵箱在驾驶室,各系统电气集中控制,操作方便。




福田g7面包式保温冷冻车:国五汽油,整车型号:bj5039xlc-c5,底盘型号:bj6539b1pva-c5g7,准乘人数: 2人,豪华车身,5档,驾驶室空调,暖风,感载比例阀,轴距:3050,发动机:4q20m,功率:95kw,130马力,总:3150kg,整备:2145kg,额定载:875kg,整车尺寸:5320×1695×2500(mm),箱空间约:5.5立方,厢体尺寸(2900×1380×1450mm),上。济宁远航环卫设备常年生产销售吸粪车、洒水车、吸污车、清扫车、垃圾车、高压清洗车、消防车,电动洒水车吸粪车,农用三轮吸粪车洒水车(罐体容积2立方-10立方),车辆底盘主要有(东风、江铃,中国重汽。东风小康面包式冷藏车:国五排放,汽油,整车型号:clw5025xlc5,底盘型号:eq5026xxyf1,准乘人数: 2人或2+3人,发动机:dk15-10重庆小康动力,功率:82kw,110马力,轴距:3050mm,手动五档 185r14lt真空胎 ,驾驶室带空调,带动转,电动玻璃,总:1970kg,整备:1440kg,额定载:530kg,整车尺寸:4500×1680×2240,箱空间约:3.5立方米,上。



庆铃五十铃道路垃圾清扫车是湖北程力专用汽车股份根据用户需求特殊定制的一款具有扫路车和洒水车两种车型功能相结合的清扫车,具有清扫、吸尘、前冲、后洒、绿化炮等功能,采用庆铃股份原装600P系列轻卡底盘生产,底盘发动机130马力,清扫副发动机77.5马力,垃圾箱及水箱总容积6立方左右,根据用户需求定制畅销天锦扫地车,公路电动扫地车,湖北程力扫路车+3或4+2灵活分配,内胆采用不锈钢制作,更加经久耐用,湖北程力公司可为用户设计生产洒水扫路车、除雪扫路车、消防扫路车等等





1、高可靠性:选用国内知名且符合欧VI排放标准的底盘,上装部分结构紧凑合理,性能稳定,寿命耐久。
2、驾驶舒适安全:驾驶室内视野开阔,操作简便舒适。
不断改进,一代马自达6在看不见的地方下功夫,以发动机、底盘为重点,在消费者关注的操控、静音、安全、动力、油耗等方面,对整车进行了技术升级和改进。使发动机的整体高度降低、长度缩短、整车的重心降低,车辆行驶更加平稳,发动机安装在整车的中心线上,两侧活塞产生的力矩相互抵消,大大降低车辆在行驶中的振动,便发动机转速得到很大提升,减少噪音。后防护材质为q235,与底盘车架螺栓连接,横梁断面尺寸为100×50,后防护离地高度为400mm. 发动机isf2.8s4129v对应油耗申报值12.0l/100km,发动机isf2.8s4129t对应油耗申报值11.7l/100km,发动机isf2.8s4148v对应油耗申报值12.1l/100km,发动机isf2.8s4148t对应油耗申报值11.8l/100km.abs系统型号为xh-kq4s4m-e01,生产企业为广州市西合汽车电子装备.。
4、清扫效率高:独特的结构设计,使清扫、抽吸系统达到完美的结合,确保了较高的清扫和抽吸效率。
5、清扫系统先进合理:主刷具有防撞避让功能,并采用马达驱动,动力强劲,转速可实现无级调节。
6、控制系统:高度集成的电液控制所有清扫动作都由液压完成扫地车结构,在驾驶室内实现集中控制。



东风天锦大型扫路车主要性能及特点:
东风天锦大型扫地车采用吸、扫结合,湿式除尘,电液集中控制,液压倾翻卸料的作业方式进行路面清扫作业。

采用“中置四盘刷-后置吸嘴”对称结构布置形式,方便道路左右两边路沿清扫。
东风天锦道路清扫车副发动机与风机采用了离心式自动离合器连接装置,保证了副发动机启动和停机时与风机自动脱离。
前清扫装置具有防碰撞避让功能,可保证清扫装置作业时不碰损。
左、右前扫可独立或联动工作,以在必要时,右前扫或左前扫不作业,从而减小了占道宽度,提高了作业车辆和通行车辆的安全,又减少了扫刷磨损,有利降低运行成本。





东风天锦大型扫路车 拖拉机清扫车 道路清扫车报价采用吸、扫结合,湿式除尘,电液集中控制,液压倾翻卸料的作业方式进行路面清扫作业。
·采用“中置四盘刷-后置吸嘴”对称结构布置形式,方便道路左右两边路沿清扫。

·东风天锦道路清扫车副发动机与风机采用了离心式自动离合器连接装置,保证了副发动机启动和停机时与风机自动脱离。
·前清扫装置具有防碰撞避让功能,可保证清扫装置作业时不碰损。
·左、右前扫可独立或联动工作,以在必要时,右前扫或左前扫不作业,从而减小了占道宽度,提高了作业车辆和通行车辆的安全,又减少了扫刷磨损,有利降低运行成本。




结构先进 性能优良:东风天锦高压清洗扫路车采用高科技清扫系统,吸污宽度达2.4米,几乎与车宽平齐,大大提高了工作效率。内置高压水喷杆作业时离地高度固定不变,不随整车载荷变化,能达到的清洗效果,并且能减少水雾与垃圾的飞溅,减少飞溅造成的污染。左右喷杆同时摆出时,清洗宽度不小于3.5m,单边摆出时,清洗宽度不小于2.9m。为便于喷嘴的调节与维修更换,吸嘴内喷杆设计成可快速拉出结构,左右立扫采用了获得国家的清洗扫路车两用扫盘,具有防碰撞避让功能,可以清扫路面,洗刷路缘石立面。还可根据客户需求选装普通扫路车扫盘。该产品还配备三个电动式隔膜泵,分别向左扫盘、右扫盘、吸嘴吸管提供低压水,用于扫盘作业时降尘,扫路作业时防止吸嘴吸管堵塞。电动泵由电控系统自动控制,无需人工操作。
湖北程力专汽专注扫路车11年,生产制造扫路车技术成熟,质量过关,已率先全面通过ISO9001-2000国际质量体系认证,产品部通过3C国际强制产品认证,彰显湖北程力专用汽车在专用汽车生产的实力及工艺。吨扫路车,5吨扫路车,8吨扫路车等其他大中小型扫路车,可广泛立用于干线公路,市政以及道面、城市住宅区、公园等道路清扫。

由北京汽车制造厂负责按出厂价提供bj121、bj122型的三类底盘车(即包括发动机总成、底盘总成及其他机械电系部分),该厂负责生产车身部分(汽车机械部分不变,只按市场要求改装成各种类型车)。整车底盘部分由各底盘厂家负责售后或三包,用户可到底盘“保修手册”上的“服务站”进行走保和售后服务。我公司可根据各行业客户不同的要求,为客户量身定造,既能满足客户的质量要求、又能满足客户价格的要求、公司现已通过国家iso9001-2000质量管理体系认证,在厂家购买吸粪车洒水车可按用户要求定做,包括罐体容积,车身颜色与图案 厂家购买,省去中间经销商扫地车结构,让客户花最少的钱买价格实惠的车 售后服务:上装部分可三包服务一年或三万公里,免费发送易损件,售后人员48小时到位。
★购车流程:1.电话洽谈或实地考察 > 2.签订合同 > 3.安排生产 > 4.交付验收 > 5.签字确认(仅.限.于代送车辆)。随车吊:购车流程:电话洽谈或实地考察 >2.签订合同 >3.组织出产 >4.交付验收 >5.签字承认(仅限于代送车辆) 。【购买回转设备流程 】:1.电话洽谈(或来厂实地考察)--2.签订合同--3.安排生产--4.交付验收--5.签字确认。
·*步:购车洽谈:
本文来自电脑杂谈,转载请注明本文网址:
http://www.pc-fly.com/a/dianqi/article-116421-1.html
对股市指手画家
其它先不说