
在水冷机组中蒸发器是出送冷量的设备,制冷剂在其中吸收水的热量,使其成为冷冻水,冷冻水被送到各风机风口的冷却盘管中吸收盘管周围的空气热量,产生低温空气由盘管风机吹送到各个房间,以实现制冷。制冷工质(即制冷剂)在蒸发器内吸收被冷却物的热量并汽化成蒸汽,压缩机不断地将产生的蒸汽从蒸发器中抽出,并进行压缩,经压缩后的高温、高压蒸汽被送到冷凝器后向冷却介质(如水、空气等)放热冷凝成高压液体,在经节流机构降压后进入蒸发器,再次汽化,吸收被冷却物体的热量,如此周而复始地循环。现在很多网吧使用冷风机水箱型蒸发器的原理,相比传统的节能空调,它的使用原理是什么呢,根据水蒸发吸收热量,蒸发面积影响蒸发效率这一自然物理现象,使空气经过实际换热面积为表面积多倍的蒸发温帘,将大量的热量吸收,从而达到降温的目的,那么网吧使用冷风机耗电吗,这是广大网吧业主关心的一个问题。
蒸发器按其冷却的介质不同分为:冷却空气的蒸发器、冷却液体(水或其它液体载冷剂)的蒸发器。
冷却空气的蒸发器:
空气自然对流时多采用光盘管结构
空气强制对流时采用翅片管结构
冷却液体(水或其它液体载冷剂)的蒸发器:
壳管式
沉没式
根据制冷剂供液方式的不同:
满液式蒸发器
干式蒸发器
循环式蒸发器
喷淋式蒸发器

满液式蒸发器
按其结构分为卧式壳管式、水箱直管式、水箱式等几种结构型式。
它们的共同特点是在蒸发器内充满了液态制冷剂,运行中吸热蒸发产生的制冷剂蒸 气不断地从液体中分离出来。由于制冷剂与传热面充分接触,沸腾换热系数更高。
但不足之处是制冷剂充注量大,液柱静压会给蒸发温度造成不良影响;若采用能溶于润滑油的制冷剂,润滑油难以返回压缩机。
壳管式满液式蒸发器:
蒸发器上部的蒸发室内操作第二节 流体在管内的流动柏努利方程的应用第二节 流体在管内的流动柏努利方程的应用《制药工程原理与设备》第一章 流体流动fluid flow53解:蒸发器上部的蒸发室内操作压强为2oommhg(真空度)。***最全蒸发冷凝器,蒸发器无死角说明不可以不服分类别(按冷却方式)空气冷却式蒸发冷凝器,水冷式蒸发冷凝器(壳管式蒸发冷凝器,套管式蒸发冷凝器,壳-盘管式蒸发冷凝器,螺旋板式蒸发冷凝器,沉浸式蒸发冷凝器),蒸发式和喷淋式蒸发冷凝器。螺杆压缩机的作用是从蒸发器中吸取制冷剂蒸气,以保证蒸发器内一定的蒸发压力,提高压力,将低压低温的制冷剂蒸气压缩成为高压高温的过热蒸气,以创造在较高温度下冷凝的条件,输送并推动制冷剂在系统内流动,完成制冷循环。
制冷剂液体从壳底部或侧面进入壳内,蒸气由上部引出后返回到压缩机。壳内制冷剂始终保持约为壳径70%~80%的静液面高度。

壳管式满液式蒸发器应注意以下问题:
①以水为载冷剂,其蒸发温度降低到0℃以下时,管内可能会结冰,严重时会导致传热管胀裂。同时蒸发器水容量小,运行时热稳定性差;
②低蒸发压力时,液体在壳体内的静液柱会使底部温度升高,传热温差减小;
③与润滑油互溶的制冷剂,使用满液式蒸发器存在着回油困难;
④制冷剂充注量较大。同时不适于机器在运动条件下工作,液面摇晃会导致压缩机冲缸事故;

⑤在满液式蒸发器中,由于制冷剂气化,产生大量气泡,使液面升高,因此制冷剂充注量不应浸没全部换热面。
水箱式蒸发器:
水箱式蒸发器可由平行直管或螺旋管组成(又称为立式蒸发器)。
它们均沉浸在液体载冷剂中工作,由于搅拌器的作用,液体载冷剂在水箱内循环流动,以增强传热效果。制冷剂液体在管内蒸发吸热,使管外载冷剂降温。

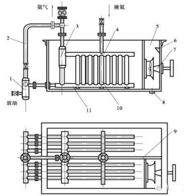
立管式水箱蒸发器
1—集油器;2—均压管;3—汽-液分离器;4—上集气管;5—水箱;6—泄水口;7—搅拌器;8—溢流管;9—隔板;10—直立管管束;11—下集液管
而后通过节流元件,降压后的气液混合物流向蒸发器,在那里制冷剂液体在蒸发温度下吸热沸腾,转换为蒸气后进入压缩机,从而实现了制冷系统中制冷剂的不断循环流动。***最全蒸发冷凝器,蒸发器无死角说明不可以不服分类别(按冷却方式)空气冷却式蒸发冷凝器,水冷式蒸发冷凝器(壳管式蒸发冷凝器,套管式蒸发冷凝器,壳-盘管式蒸发冷凝器,螺旋板式蒸发冷凝器,沉浸式蒸发冷凝器),蒸发式和喷淋式蒸发冷凝器。 应用 汽化的方式: 1、蒸发:在任何温度下,只在液体表面进行的比较平和的汽化现象 2、沸腾:在一定温度下,在液体内部和表面同时进行的剧烈的汽化现象 蒸发特点 从以上两个活动,你能得出它们的共同特点 是什么。
非满液蒸发器
非满液式蒸发器(干式蒸发器)
干式蒸发器是一种制冷剂液体在传热管内能够完全气化的蒸发器。
其传热管外侧的被冷却介质是载冷剂(水)或空气,制冷剂则在管内吸热蒸发,其每小时流量约为传热管内容积的20%-30%。
增加制冷剂的质量流量,可增加制冷剂液体在管内的湿润面积。同时其进出口处的压差随流动阻力增大而增加,以至使制冷系数降低。


按冷却介质分:
冷却液体干式蒸发器
冷却空气干式蒸发器(直接蒸发式空气冷却器)
冷却液体干式蒸发器:
干式壳管焊接板
式蒸发器蒸发器
1、干式壳管蒸发器
***最全蒸发冷凝器,蒸发器无死角说明不可以不服分类别(按冷却方式)空气冷却式蒸发冷凝器,水冷式蒸发冷凝器(壳管式蒸发冷凝器,套管式蒸发冷凝器,壳-盘管式蒸发冷凝器,螺旋板式蒸发冷凝器,沉浸式蒸发冷凝器),蒸发式和喷淋式蒸发冷凝器。 轨道式擦窗机(立柱升降式、伸缩臂型式、燕尾臂型式等)、轮载式擦窗机、滑车插杆式擦窗机、旋轨式擦窗机、(桁架式升降变幅)天窗滑梯等是我公司目前最受欢迎的设备款式。广西南宁农机仿压管机dx68,压管机如按使用功能可区分为液压高压管压管机,刹车管压管机,空调管压管机,动力管压管机机等,如按机械机构可分为直筒式压管机,双柱式压管机,开口式压管机,c型式压管机,如按控制方式可分为机电式压管机,plc式压管机,数控式压管机。

干式壳管式蒸发器的特点是:
①能保证进入制冷系统的润滑油顺利返回压缩机;
②所需要的制冷剂充注量较小,仅为同能力满液式蒸发器的1/3;

③用于冷却水时,即使蒸发温度达到0℃,也不会发生冻结事故;
④可采用热力膨胀阀供液,这比满液式的浮球阀供液更加可靠。
直接蒸发式空气冷却器
直接蒸发式空气冷却器
这类蒸发器按空气的运动状态分有冷却自由运动空气的蒸发器和冷却强制流动空气的蒸发器两种型式。
1、冷却自由运动空气的蒸发器:由于被冷却空气呈自由运动状态,其传热系数较低。所以这种蒸发器被制成光管蛇形管管组,通常称做冷却排管。一般用于冷藏库和低温试验装置中。
加制冷液:制冷液加液管表阀都连接好后,打开加液法门,段开(拧松)加液管的一头,当管头处有制冷液排出时,拧紧法兰。制冷机的主要性能指标有工作温度(对蒸气压缩式制冷机为蒸发温度和冷凝温度,对气体压缩式制冷机和半导体制冷器为被冷物体的温度和冷却介质的温度),制冷量(制冷机单位时间内从被冷却物体移去的热量)、功率或耗热量、制冷系数(衡量压缩式制冷机经济性的指标,指消耗单位功所能得到的冷量)以及热力系数(衡量吸收式和蒸汽喷射式制冷机经济性的指标,指消耗单位热量所能得到的冷量)等。反渗透膜系统处理后的出水主要回用于镀镍漂洗水,由于镀镍液的工作温度为55—60"c,在电镀过程中有大量水分蒸发,故在ro装置浓液排出的稀镀镍液(量少时)可顺利加入镀镍槽中回用。

金属波纹管及翅片式波纹管在内燃机冷却器中的应用,在汽柴油发动机冷却器壳体内或冷却芯子的两管板间安装1-1000根带有间断性凸凹状金属波纹管,采用扩管法、焊接法等方法将其固定在一端管板上,使冷却介质的流动状态发生改变,达到提高传热系数,增加传热效率。喷淋式换热器这种换热器是将换热管成排地固定在钢架上,热流体在管内流动,冷却水从上方喷淋装置均匀淋下,故也称喷淋式冷却器.喷淋式换热器的管外是一层湍动程度较高的液膜,管外给热系数较沉浸式增大很多.另外,这种换热器大多放置在空气流通之处,冷却水的蒸发亦带走一部分热量,可起到降低冷却水温度,增大传热推动力的作用.因此,和沉浸式相比,喷淋式换热器的传热效果大有改善。这种换热器是将换热管成排地固定在钢架上,热流体在管内流动,冷却水 从上方喷淋装置均匀淋下,故也称喷淋式冷却器.喷淋式换热器的管外是一层湍动程度较高的液膜,管外给热系数较沉浸式增大很多.另外,这种换热器大多放置在空气流通之处,冷却水的蒸发亦带走一部分热量,可起到降低冷却水温度,增大传热推动力的作用.因此,和沉浸式相比,喷淋式换热器的传热效果大有改善。
这种蒸发器具有结构紧凑,传热效果好,可以改变空气的含湿量,应用范围广等优点。但从制造工艺要求分析,肋片与传热管的紧密接触是提高其传热效果的关键。
循环式蒸发器
这种蒸发器中水箱型蒸发器的原理,制冷剂在其管内反复循环吸热蒸发直至完全气化,故称做循环式蒸发器。循环式蒸发器多应用于大型的液泵供液和重力供液冷库系统或低温环境试验装置。

循环式蒸发器的优点在于蒸发器管道内表面能始终完全润湿,表面传热系数很高。但体积较大,制冷剂充注量较多。
声明:该文观点仅代表作者本人,搜狐号系信息发布平台,搜狐仅提供信息存储空间服务。
本文来自电脑杂谈,转载请注明本文网址:
http://www.pc-fly.com/a/dianqi/article-104571-1.html
大家心知肚明
实际打起来还不得不考虑美国因素
支持