
网民们追求的是具有良好微动质量的鼠标: 通常,鼠标的问题是定位引擎问题,鼠标的微运动问题,以及鼠标的微运动问题更加严重. 普遍现象. 无论哪种品牌的微动,都会有或多或少的双击,丢失的点击,更改组合的单击等. 许多网民会上网询问哪种品牌的鼠标更适合微动?那么,让我们看看网民如何回答.

网民正在寻找一种更好的微动鼠标

当前市场上常用的主流微动: 当今市场上的主流微动都是国内产品: 欧姆龙,华诺,开化,TTC等. 欧姆龙7N微型动是常见的微型动静. 高端小鼠的运动. 尽管市场上有日产Omron,但考虑到99%的成本是家用7N鼠标,目前存在三种类型的微动: 3m,10m和20m(10m和20m侧盖型号标为末端,并且3m未被标记). 寿命分别为300万,1000万和2000万. 到目前为止,Huanuo Micro Motion是与欧姆龙高准最接近的品牌. 许多品牌都采用了这种微动. 最让我印象深刻的是: 一旦我使用了双飞燕747游戏鼠标,我就感到按键很舒适. 当我打开它时,结果发现是华诺的橘子微动. 起初,我错误地认为这是欧姆龙的7N. 还有另外两个品牌: Kaihua和TTC,但高端小鼠中很少出现. TTC出现在Sairui鼠标中,但由于受到批评,因此改用了欧姆龙高准. 也有zippy,但在主流小鼠中很少见.

2011年,网民抱怨市场上的产品越来越差

您所支付的,价格永远不会改变: 许多鼠标品牌使用更便宜的原材料以节省成本,但是您所支付的价格降低却不可避免地会影响原材料的质量. 让我们来看看上面的帖子. 那是在2011年. 一位网友说: “某个品牌的鼠标使用凯华的微动,不再使用光栅,而是直接使用代码开关. ”那你用凯华了吗华晃了一下,真的行不通吗?开化真的那么糟糕吗?让我们看看一年后会发生什么?

2012年网民在互联网上爆料
时间到了一年后,一名维修人员发现许多无线鼠标的左键接触不良. 失败现象: 单击鼠标双击,单击鼠标双击,不连续拖动,按住“更改多次单击”等等. 这些有问题的老鼠都使用某种品牌的微动.

2013年品牌推广图片

2000万寿命背后的真相: 上面是某个品牌的促销形象. 我们可以看到,第五项标志着2000万个按钮的使用寿命. 一方面,制造商需要宣传其产品的功能,但我们也可以理解,他们因微动开关的问题而烦恼,并强调他们使用更高质量的组件,因此它们更加稳定并且具有寿命更长.


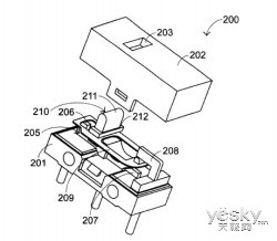
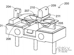
鼠标微动开关结构
鼠标微动开关故障的原因: 不可避免的是,经过一段时间使用后,普通鼠标会受到损坏,而造成鼠标损坏的大部分原因是按钮的故障. 鼠标中其他组件发生故障的可能性实际上很小. 按钮下方的微型开关确定鼠标按钮是否敏感. 有最频繁使用该按钮的原因,并且一些山寨机制造商使用的家用微动效果不佳.
本文来自电脑杂谈,转载请注明本文网址:
http://www.pc-fly.com/a/bofangqi/article-297607-1.html
拼不过我们的军舰
你等着
没必要咬文嚼字地批判